北京通州文化旅遊區環球影城3.27億元掛牌1宗地塊

中國網地產訊 1月5日,北京市規劃和自然資源委員會掛牌1宗多功能用地,起始價3.27億元。

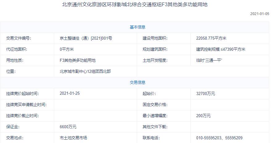
地塊編號京土整儲掛(通)[2021]001號,地塊名稱為北京通州文化旅遊區環球影城北綜合交通樞紐F3其他類多功能用地,建設用地面積2.21萬平,規劃建築面積≤47390平方米,土地用途為 F3其他類多功能用地,地塊位於北京城市副中心12組團西北部,起始價3.27億元。

(責任編輯:楊昊岳)
相關閱讀:

中國網地產是中國互聯網新聞中心·中國網旗下地產頻道,是國內官方、權威、專業的國家重點新聞網站。以引導正確的行業輿論導向為己任,為行業上下游關聯企業、相關產業提供一個高效溝通與互動的優質平台。

【其他文章推薦】

實木地板、海島型地板、耐磨地板怎麼挑? 木地板三倍價差的秘密!!

海島型木地板專業木作修繕團隊

※中古屋大改造,分享台中室內設計隔間重新規劃,擴大實用空間!

※了解海島型木地板是否會有潮濕變形疑慮?

※打造簡約、淡雅兼收納空間的小資房,台中室內設計推薦哪一家?

※推薦沙發修理,老師傅的專業手工!

※門外漢也要知道的超耐磨木地板祕辛?

You Might Also Like